潜水低速推流器是一种转速较低的潜水搅拌机,主要由潜水电机、减速装置、叶桨和安装系统等组成,电机通过减速装置带动前端叶轮的旋转,对周围的水体产生搅拌和扰动的同时并使得水体向前循环,从而达到液体无沉淀,且可以增加液体吸氧。
低速推流器适用于工业和城市污水处理厂曝气池和厌氧池,其产生低切向流的强力水流,低速推流器可用于池中水循环及硝化、脱氮和除磷阶段创建水流等。
一、性能特点
1.结构紧凑、体积小、重量轻,操作维护简单、安装方便快捷、使用寿命长。
2.叶片具有自洁功能,可防杂物缠绕、堵塞。
3.与曝气系统配合使用可使能耗大幅度降低,充氧量明显提高,有效防止沉淀。
4.电机绕组为F级绝缘,选用一次润滑免维护进口轴承,具有油室泄漏检测和电机绕组过热保护功能,使电机的工作更加安全可靠。
5.机械密封的摩擦付材质为耐腐蚀的碳化钨,所有紧固件均为不锈钢材质。
二、产品用途:
推流器一般是用在污水处理厂的氧化沟推流、各类生化池的搅拌、河流防冻、景观水循环以及工业和城市污水处理厂曝气池和厌氧池,叶轮产生低切向流的强力水流,可用于池中水循环及硝化、脱氮和除磷阶段创建水流、开辟河道及河床防止冰冻等作用。
低速潜水推流器弹性聚氨脂或铝合金制成,能承受变化的负荷,推力被平均分配到混合物上,两道可靠的机械密封、无渗漏,并设有泄漏、过热等功能保护,安装方便迅速,能适合各种类型的水池。
产品简介
潜水搅拌机又称潜水推进器,适用于污水处理厂的工艺流程中推进搅拌含有悬浮物的污水、稀泥浆、工业过程液体等,创建水流,加强搅拌功能,防止污泥沉淀,是市政和工业污水处理工艺流程上的重要设备:分为混合潜水搅拌机、潜水推进搅拌机
用 途
适用与工业和城市污水处理厂曝气池和厌氧池,可用池中水循环及硝化、脱氮和除磷阶段创建水流等。
混合搅拌系列产品选用多极电机,采用直联式结构,能耗低,效率高;叶轮通过精铸或冲压成型,精度高,推力大,外型美观流畅,结构紧凑。
低速推流系列产品采用摆线针轮减速机,配备功率小,转速低,叶轮直径大,服务面积广。叶轮由聚胺脂材料和铝合金铸成,强度高,耐腐蚀性强,除了具有搅拌的功能外还能外还兼有推流和创建水流的作用。
潜水搅拌机的电机绕组为F级绝缘,防护等级为IP68。在污水厂的曝气系统中配合使用,可使系统能耗大大降低,且充氧量明显提高,能有效的防止沉淀。根据工艺要求,直联式潜水搅拌可配用导流罩。
潜水搅拌机用途及适用条件
混合搅拌系列潜水搅拌机适用于各种水处理工艺和工业流程需要保持固、液二相或固、液、气三相介质均匀混合反应的场所。
型号表示方法

适用范围
QJB型多功能旋流式潜水搅拌机在下列条件下可正常连续运行:
1、最高介质温度不超过40℃;
2、介质的PH值在5~9之间;
3、介质密度不超过1150kg/m3;
4、长期潜水运行,潜水深度一般不超过20m。
特点
1、 结构紧凑,体积小,重量轻,操作维护简单、安装方便快捷、使用寿命长。
2、 叶轮经CFD优化设计,效率高,后掠式叶片具有自洁功能可防杂物缠绕、堵塞。
3、 与曝气系统配合使用可使能耗大幅度降低,充氧量明显提高,有效防止沉淀。
4、 独特的电缆密封设计,排除了电缆漏水的隐患。
5、 电机绕组为F级绝缘,防护等级为IP68,选用一次润滑免维护进口轴承,具有油室泄漏检测和电机绕组过热保护功能,使电机的工作更加安全可靠。
6、 两道独立的机械密封,机械密封的磨擦付材质为耐腐蚀的碳化钨,所有紧固件均为不锈钢材质。
选型注意事项
为保证取得理想效果,请使用方提供以下资料:
1、 运用目的;
2、 池形;
3、 池尺寸,包括水深;
4、 介质特性,包括粘度、密度、温度、固体含量等。
搅拌机所需要的配套功率是根据容积大小、池型尺寸、搅拌液体的密度、粘度而确定的,根据具体情况采用一台或多台搅拌机。
!QJB型多功能旋流式潜水搅拌机必须完全潜入水中工作,不能在易燃易爆的环境下或有强腐蚀性液体的环境中工作!
低速推流潜水搅拌机主要性能参数
| 序号 | 型 号 | 电机功率(kW) | 额定电流(A) | 叶片转速(r/min) | 叶片直径(mm) | 轴向推力(N) | 重量(kg) |
| 1 | QJB1.5/4-1100/2-63/B | 1.5 | 3.9 | 63 | 1100 | 680 | 150 |
| 2 | QJB2.2/4-1100/2-87/B | 2.2 | 5.3 | 87 | 1100 | 1925 | 160 |
| 3 | QJB3/4-1100/2-115/B | 3.0 | 7.2 | 115 | 1100 | 2240 | 160 |
| 4 | QJB4/4-1100/2-135/B | 4.0 | 9.2 | 135 | 1100 | 2640 | 165 |
| 5 | QJB1.5/4-1400/2-42/B | 1.5 | 3.9 | 42 | 1400 | 650 | 150 |
| 6 | QJB2.2/4-1400/2-51/B | 2.2 | 5.3 | 51 | 1400 | 845 | 160 |
| 7 | QJB3/4-1400/2-63/B | 3.0 | 7.2 | 63 | 1400 | 1250 | 160 |
| 8 | QJB4/4-1400/2-87/B | 4.0 | 9.2 | 87 | 1400 | 1680 | 172 |
| 9 | QJB1.5/4-1600/2-34/B | 1.5 | 3.9 | 34 | 1600 | 680 | 155 |
| 10 | QJB2.2/4-1600/2-34/B | 2.2 | 5.3 | 34 | 1600 | 910 | 165 |
| 11 | QJB3/4-1600/2-42/B | 3.0 | 7.2 | 42 | 1600 | 1548 | 165 |
| 12 | QJB4/4-1600/2-42/B | 4.0 | 9.2 | 42 | 1600 | 1810 | 170 |
| 13 | QJB1.5/4-1800/2-30/B | 1.5 | 3.9 | 30 | 1800 | 1120 | 160 |
| 14 | QJB2.2/4-1800/2-34/B | 2.2 | 5.3 | 34 | 1800 | 1332 | 170 |
| 15 | QJB3/4-1800/2-38/B | 3.0 | 7.2 | 38 | 1800 | 1815 | 170 |
| 16 | QJB4/4-1800/2-43/B | 4.0 | 9.2 | 43 | 1800 | 2360 | 175 |
| 17 | QJB5.5/4-1800/2-48/B | 5.5 | 11.9 | 48 | 1800 | 2820 | 186 |
| 18 | QJB1.5/4-2200/2-27/B | 1.5 | 3.9 | 27 | 2200 | 1110 | 165 |
| 19 | QJB2.2/4-2200/2-30/B | 2.2 | 5.3 | 30 | 2200 | 1305 | 170 |
| 20 | QJB3/4-2200/2-33/B | 3.0 | 7.2 | 33 | 2200 | 1810 | 170 |
| 21 | QJB4/4-2200/2-38/B | 4.0 | 9.2 | 38 | 2200 | 2420 | 175 |
| 22 | QJB5.5/4-2200/2-43/B | 5.5 | 11.9 | 43 | 2200 | 2760 | 183 |
| 23 | QJB1.5/4-2500/2-27/B | 1.5 | 3.9 | 27 | 2500 | 1250 | 175 |
| 24 | QJB2.2/4-2500/2-30/B | 2.2 | 5.3 | 30 | 2500 | 1485 | 180 |
| 25 | QJB3/4-2500/2-33/B | 3.0 | 7.2 | 33 | 2500 | 1960 | 180 |
| 26 | QJB4/4-2500/2-38/B | 4.0 | 9.2 | 38 | 2500 | 2640 | 185 |
| 27 | QJB5.5/4-2500/2-43/B | 5.5 | 11.9 | 43 | 2500 | 2920 | 193 |
| 28 | QJB7.5/4-2500/2-48/B | 7.5 | 16.5 | 48 | 2500 | 3230 | 210 |
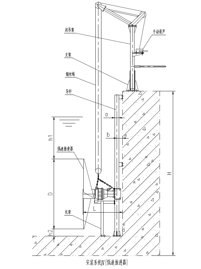
安装系统说明
安装潜水搅拌机可采用的安装技术多种多样。下面提供了其中常用、方便、便捷的安装方式,该专用安装系统可在无需排出池中污水的情况下,能快速安装和拆卸潜水搅拌机。并且使用安全可靠。我们还可以提供其它安装方法的指导,
潜水搅拌机的潜水深度可以根据需要进行垂直方向的调节。吊架座、支撑架和下托架与池的联结均采用与预埋件焊接固定。客户订货时,请提供池深H,以便我公司加工时确定导杆尺寸及支撑架的数量。安装系统的材质采用不锈钢(或碳钢)制造。起吊装置除吊架座外,数台搅拌机可共用一套。为方便搅拌机安装及起吊,应在起吊位置的护栏上开活动门。
一般地每个规格搅拌机对应一种型式安装系统(见表3、表4),如用户有特殊需要,可另配其它型式安装系统。各型式安装系统其结构有所不同。
安装注意事项
1、 导杆应与水平面垂直,可采用铅垂校正;
2、 起吊潜水搅拌机时,叶轮端较水平面应上仰5°;
3、 起吊中心和潜水搅拌机的起吊重心处于同一垂直线上;
4、 导杆与支撑架应与池底预埋件焊接牢固。
安装系统Ⅳ
安装系统Ⅳ主要由手拉葫芦、起吊柱、吊架座、起吊环链、吊钩、导杆、托架等组成。潜水搅拌机通过导轮沿导杆上下移动,起吊架安装在吊架座上并可绕其定位轴线旋转360°,以方便安装及维护。为增加潜水搅拌机运行时的可靠性,减缓潜水搅拌机运行中的振动,托架侧面直接焊固在导杆上,焊接时必须保证托架中心线与导杆中心线垂直,并在同一平面内,潜水搅拌机与托架之间加设减震块。该安装系统全部采用与预埋件焊接方式固定,不采用膨胀螺栓固定方式。
根据池型结构的不同,该安装系统分为附壁式和桥架式两种安装方式。

Copyright © 2025 南京维克环保科技有限公司 苏ICP备19051748号-1